Бренды
Компания
  • О компании
  • Партнерам
Помощь
  • Доставка и оплата
  • Как оформить заказ
  • Способы оплаты
  • База знаний
Информация
  • Новости
  • Статьи
  • Карта сайта
Контакты
  • Реквизиты
    +7 (800) 100-61-98
    +7 (800) 100-61-98
    E-mail
    Tambov@td-asv.ru
    Адрес
    Тамбов, проезд Энергетиков, 30 (Пункт выдачи товара на терминале ТК «Возовоз»)
    Режим работы
    Пн - Пт: c 10:00 до 16:00
    Сб - Вс: выходной
    ТД
    Комплексное снабжение объектов строительства
    На любой вкус
    Спиральные зажимы
    На любой вкус
    KIWI
    КВТ
    ИНКАБ
    Hyperline
    ОК-кабель
    Связьстройдеталь (ССД)
    Bandimex
    MILLER
    Fujikura
    • Арматура СИП 0,4 кВ
      Арматура СИП 0,4 кВ
      • Корпуса и предохранители
      • Анкерно-поддерживающие зажимы
      • Анкерные кронштейны и крюки
      • Изолированные наконечники и зажимы
      • Крепежные изделия для СИП
      • Плашечные зажимы
      • Ответвительные зажимы
      • Устройства для защиты ВЛИ
      • Аппаратные прессуемые зажимы
      • Клеммники для сетей уличного освещения
      • Кабельные наконечники и зажимы
      • Ограничители перенапряжения
    • Оборудование СИП 6-35 кВ
      Оборудование СИП 6-35 кВ
      • Анкерно-поддерживающие зажимы
      • Ответвительные зажимы
      • Вязка спиральная
      • Разрядники
      • Колпачки
      • Птицезащитные устройства
      • Траверсы ТМ
      • Устройства защиты
      • Разъединители РЛНД
      • Разъединители РЛК
    • Инструмент для монтажа арматуры СИП
      Инструмент для монтажа арматуры СИП
      • Вертлюги монтажные
      • Лебедки ручные для монтажа СИП
      • Монтажные зажимы для СИП
      • Ролики монтажные
      • Чулки монтажные
      • Средства безопасности при работе на высоте
    • Крепления для дорожных знаков
      Крепления для дорожных знаков
    • Изоляторы
      Изоляторы
      • Стеклянные
      • Полимерные
      • Фарфоровые
    • Арматура ВОЛС
      Арматура ВОЛС
      • Узлы крепления для магистральных линий
      • Гасители вибрации
      • Узлы подвески ВОК на линиях РЖД
      • Зажимы для кабеля
      • Сцепная арматура
      • Узлы крепления
      • Спиральные зажимы для ОКСН
    • Компоненты ВОЛС
      Компоненты ВОЛС
      • Аксессуары для оптических кроссов
      • Аксессуары для оптического кабеля
      • Трансиверы
      • Оптическая абонентская коробка
      • Оптические шнуры      
        • Пигтейлы
      • Протяжка для кабеля, мини УЗК
      • Оптические кроссы
    • Оптический кабель
      Оптический кабель
      • Волоконно-оптические кабели «Интегра Кабель»
      • Волоконно-оптические кабели «АСВ»
      • Волоконно-оптические кабели «Инкаб»
    • Бандажные крепления
      Бандажные крепления
      • Ленты монтажные нержавеющие
      • Замки для монтажной ленты
      • Инструмент для монтажной ленты
      • Стяжки стальные
      • Ленты монтажные оцинкованные
    • Кабель и аксессуары
      Кабель и аксессуары
      • Кабелеукладчики
      • Провод СИП-2
      • Кабели «витая пара» (LAN)
      • Провод СИП-3
      • Провод СИП-4
      • Кабель коаксиальный
      • Кабель для видеонаблюдения
      • Монтажные материалы
      • Кабельные муфты      
        • Кабельные муфты до 1 кВ
        • Кабельные муфты до 10 кВ
        • Кабельные муфты до 20-35 кВ
      • Металлорукав и фитинги
      • Кабель бронированный
      • Кабель интерфейсный
      • Кабель огнестойкий
      • Кабель силовой
      • Гофра трубы
    • Муфты и аксессуары для оптических кабелей
      Муфты и аксессуары для оптических кабелей
      • Оптические муфты
      • Ввод кабельный для муфт
      • Устройства для подвески муфт
      • Общие аксессуары к муфтам
    • Компоненты СКС
      Компоненты СКС
      • Площадки монтажные и бандаж
      • Горизонтальные блоки розеток PDU
      • Изоляционная лента ПВХ
      • Нейлоновые стяжки
      • Дюбель-хомуты
      • Коннекторы, проходники
      • Патч-корды
      • Патч-панели
      • Разъемы, переходники, разветвители
      • Расходные материалы
      • Розетки компьютерные, телефонные
      • Монтажный инструмент
      • Измерительное оборудование
      • Оборудование телефонии
    • Распродажа
      Распродажа
    • Приборы для работы с оптическим кабелем
      Приборы для работы с оптическим кабелем
      • Аксессуары для сварочных аппаратов
      • Инструмент для очистки оптических разъемов
      • Оптическое измерительное оборудование
      • Сварочные аппараты
      • Оптические рефлектометры
      • Измерители оптической мощности
      • Инструмент для работы с оптическим кабелем
    • Такелажные крепления
      Такелажные крепления
    • Промышленное и наружное освещение
      Промышленное и наружное освещение
      • Аксессуары для наружного освещения
      • Муфты для уличного освещения
      • Светильники
    • Арматура ВЛИ, ВЛЗ, Волском
      Арматура ВЛИ, ВЛЗ, Волском
      • Аппаратные зажимы
      • Арматура Volscom
      • Арматура для ВЛ с СИП 0,4 кВ      
        • Арматура для СИП приоритетная
        • Арматура для СИП прочая
        • Прокалывающий зажим типа ОР
        • Устройства защиты от перенапряжений типа LVA
      • Зажимы натяжные типа НБ, НЗ, НКК, ЗНЗ
      • Звенья промежуточные, талрепы, коромысла
      • Плашечные зажимы типа ПА, ПС, ЭЗК
      • Серьги, скобы (СР, СРС, СК)
      • Специальная арматура для ВЛ и ВЛЗ 6-35 кВ      
        • Устройства защиты от атмосф.перенапр. Типа УЗД (ОАЗ)
        • Вязки спиральные
        • Прочая арматура для ВЛ и ВЛЗ 6-35 кВ
        • Устройства защиты от перенапряжений типа УЗПН и УЗАП
      • Узлы крепления типа КГП
      • Ушки
    Войти
    0 Сравнение
    0 Избранное
    0 Корзина
    Оптический кабель Арматура СИП Арматура СИП Ленты монтажные Ленты монтажные Освещение Освещение Спиральные зажимы Спиральные зажимы Сцепная арматура Сцепная арматура
      • Тамбов
    • Кабинет
    • 0 Сравнение
    • 0 Избранное
    • 0 Корзина
    • Бренды
    • Компания
      • Компания
      • О компании
      • Партнерам
    • Информация
      • Информация
      • Новости
      • Статьи
      • Карта сайта
    • Помощь
      • Помощь
      • Доставка и оплата
      • Как оформить заказ
      • Способы оплаты
      • База знаний
    • Контакты
      • Контакты
      • Реквизиты
    +7 (800) 100-61-98
    • Телефоны
    • +7 (800) 100-61-98
    • Tambov@td-asv.ru
    • Тамбов, проезд Энергетиков, 30 (Пункт выдачи товара на терминале ТК «Возовоз»)
    • Пн - Пт: c 10:00 до 16:00
      Сб - Вс: выходной
    Главная
    Каталог
    Арматура ВЛИ, ВЛЗ, Волском
    Арматура СИП 0,4 кВ
    Оборудование СИП 6-35 кВ
    Инструмент для монтажа арматуры СИП
    Крепления для дорожных знаков
    Изоляторы
    Арматура ВОЛС
    Компоненты ВОЛС
    Оптический кабель
    Бандажные крепления
    Муфты и аксессуары для оптических кабелей
    Кабель и аксессуары
    Распродажа
    Компоненты СКС
    Такелажные крепления
    Приборы для работы с оптическим кабелем
    Промышленное и наружное освещение
    Специальная арматура для ВЛ и ВЛЗ 6-35 кВ
    Арматура для ВЛ с СИП 0,4 кВ
    Арматура Volscom
    Зажимы натяжные типа НБ, НЗ, НКК, ЗНЗ
    Плашечные зажимы типа ПА, ПС, ЭЗК
    Аппаратные зажимы
    Серьги, скобы (СР, СРС, СК)
    Звенья промежуточные, талрепы, коромысла
    Узлы крепления типа КГП
    Ушки
    Устройства защиты от перенапряжений типа УЗПН и УЗАП
    Устройства защиты от атмосф.перенапр. Типа УЗД (ОАЗ)
    Вязки спиральные
    Прочая арматура для ВЛ и ВЛЗ 6-35 кВ
    Устройство защиты от перенапряжений УЗПН-6-ЛК
    Устройство защиты от перенапряжений УЗПН-6-ЛК
    Устройство защиты от перенапряжений УЗПН-6-ЛК
    Устройство защиты от перенапряжений УЗПН-6-ЛК
    Устройство защиты от перенапряжений УЗПН-6-ЛК
    Устройство защиты от перенапряжений УЗПН-6-ЛК
    Устройство защиты от перенапряжений УЗПН-6-ЛК

    Устройство защиты от перенапряжений УЗПН-6-ЛК

    Арт. УЗПН-6-ЛК
    6 332.60 ₽/шт
    Цена указана с учётом НДС 22%
    +#BONUSES# на счет
    6 332.60 ₽/шт
    Цена указана с учётом НДС 22%
    +#BONUSES# на счет
    Много
    Рассчитать доставку
    Нашли дешевле?
    Характеристики
    Тип
    :
    устройства защиты
    Все характеристики
    6 332.60 ₽/шт
    Цена указана с учётом НДС 22%
    +#BONUSES# на счет
    Много
    Рассчитать доставку
    Нашли дешевле?
    МЗВА-ЧЭМЗ
    Все товары МЗВА-ЧЭМЗ
    Все товары категории

    Цена указана с учетом НДС
    Срок доставки по Москве и МО 1-2 дня
    Самовывоз: Москва, Киевское ш. 22-й, стр. 1Б

    • Описание
    • Характеристики
    • Как купить
    • Оплата
    • Характеристики

    Устройство защиты от перенапряжений УЗПН-6-ЛК

    Предназначено для защиты ВЛ переменного тока напряжением 6 кВ от грозовых атмосферных перенапряжений. Монтируется на промежуточных и анкерных опорах с полимерными подвесными изоляторами типа ЛК. Устройство представляет собой линейный ограничитель перенапряжения с внешним искровым промежутком. Оно обеспечивает снижение числа грозовых отключений воздушных линий и предотвращают пережоги изолированных проводов ВЛЗ дугой сопровождающего грозовой импульс тока промышленной частоты.

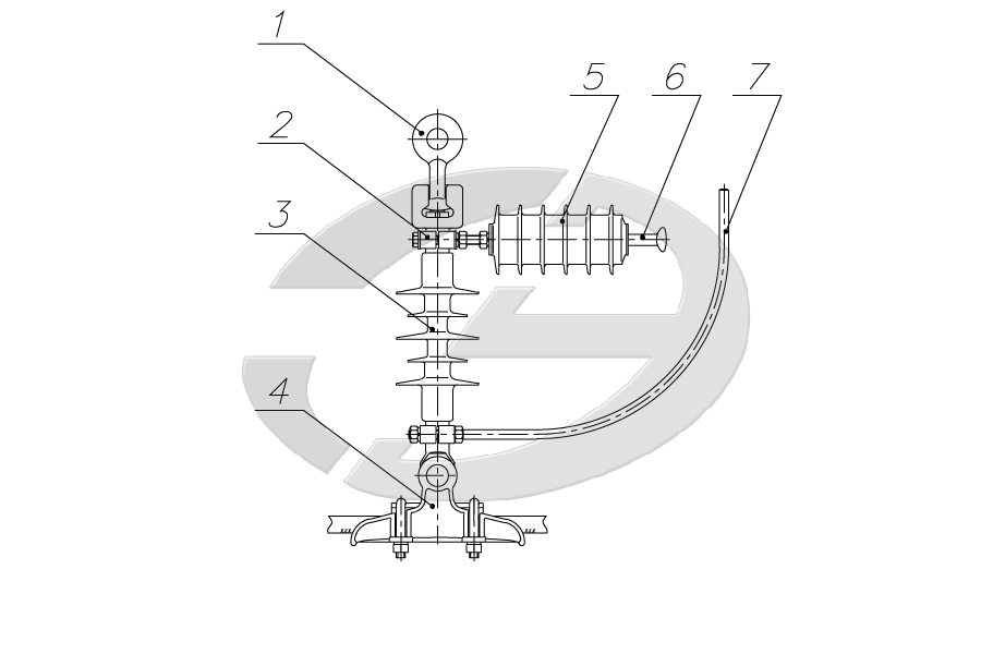
    В комплект поставки УЗПН входят: А) для поддерживающей подвески только элементы №№ 2, 5, 6, 7. Б) для натяжной подвески только элементы №№ 2, 6, 7, 8.

    Поддерживающая подвеска
    • 1 - серьга СРС-7-16, 2 - узел крепления ОПН на оконцевателе изолятора, 3 - изолятор, 4 - поддерживающий зажим*, 5 - ОПН, 6 - электрод № 1, 7 - электрод № 2.
    Натяжная подвеска
    • 1 - серьга СРС-7-16, 2 - узел крепления ОПН на оконцевателе изолятора, 3 - изолятор, 4 - звено промежуточное трехлапчатое ПРТ-7-1, 5 - натяжной зажим**, 6 - ОПН, 7 - электрод № 1, 8 - электрод № 2.
    *- рекомендуется ПГ-30/12-12 СИП-К
    **- рекомендуется НБ 60/5,6-16 К

    Устройство состоит из:
    ограничителя перенапряжений нелинейного (ОПН) специальной конструкции;
    искрового промежутка (ИП) между фазным проводом и ОПН.
    • Класс напряжения сети, кВ: 6
    • Наибольшее длительно допустимое рабочее напряжение, (UНДР), кВ: 7.6
    • Остающееся напряжение (кВ) при грозовых импульсах тока 8/20 мкс с амплитудой: 2500 А: 22.6, 5000 А: 24.3, 10000 А: 27.2, 20000 А –
    • Способность к рассеиванию энергии расчетного прямоугольного импульса 2000 мкс, кДж не менее: 14.2
    • Длина искрового промежутка, L, мм: 40
    • Пятидесятипроцентное разрядное напряжение грозового импульса искрового промежутка, кВ, не более: 75

    Оформить заказ на нашем сайте легко. Просто добавьте выбранные товары в корзину, а затем перейдите на страницу Корзина, проверьте правильность заказанных позиций и нажмите кнопку «Оформить заказ» или «Быстрый заказ».

    Быстрый заказ

    Функция «Быстрый заказ» позволяет покупателю не проходить всю процедуру оформления заказа самостоятельно. Вы заполняете форму, и через короткое время вам перезвонит менеджер магазина. Он уточнит все условия заказа, ответит на вопросы, касающиеся качества товара, его особенностей. А также подскажет о вариантах оплаты и доставки.

    По результатам звонка, пользователь либо, получив уточнения, самостоятельно оформляет заказ, укомплектовав его необходимыми позициями, либо соглашается на оформление в том виде, в котором есть сейчас. Получает подтверждение на почту или на мобильный телефон и ждёт доставки.

    Оформление заказа в стандартном режиме

    Если вы уверены в выборе, то можете самостоятельно оформить заказ, заполнив по этапам всю форму.

    Заполнение адреса

    Выберите из списка название вашего региона и населённого пункта. Если вы не нашли свой населённый пункт в списке, выберите значение «Другое местоположение» и впишите название своего населённого пункта в графу «Город». Введите правильный индекс.

    Доставка

    В зависимости от места жительства вам предложат варианты доставки. Выберите любой удобный способ. 

    Оплата

    Выберите оптимальный способ оплаты. 

    Покупатель

    Введите данные о себе: ФИО, адрес доставки, номер телефона. В поле «Комментарии к заказу» введите сведения, которые могут пригодиться курьеру, например: подъезды в доме считаются справа налево.

    Оформление заказа

    Проверьте правильность ввода информации: позиции заказа, выбор местоположения, данные о покупателе. Нажмите кнопку «Оформить заказ».

    Наш сервис запоминает данные о пользователе, информацию о заказе и в следующий раз предложит вам повторить к вводу данные предыдущего заказа. Если условия вам не подходят, выбирайте другие варианты.

    Способы оплаты


    Оплата по выставленному счету
    Счет от менеджера — это быстрый и удобный способ оплаты наших услуг. После согласования заказа с менеджером вам будет выслан счет на электронную почту. Счет содержит все необходимые реквизиты и подробную информацию о заказе.
    Для оплаты по счету:
    • Сохраните полученный документ
    • Укажите назначение платежа согласно реквизитам
    • Произведите оплату в любом удобном для вас банке

    Безналичный расчет
    Безналичный расчет доступен для юридических лиц и индивидуальных предпринимателей. Мы предоставляем все необходимые документы для бухгалтерского учета:
    • Счет на оплату
    • Акт выполненных работ
    • Товарная накладная
    • Счет-фактура

    Для оформления договора и получения реквизитов свяжитесь с нашим менеджером.

    Оплата наличными
    Наличный расчет возможен при личном визите в наш офис. При оплате наличными вы получаете:
    • Кассовый чек
    • Товарный чек (при необходимости)
    • Гарантийный талон (если применимо)

    Наш офис работает с 9:00 до 18:00 по будням. Перед визитом рекомендуем согласовать время с менеджером для более комфортного обслуживания.
    Тип
    устройства защиты
    Назад к списку
    Интернет-магазин
    Каталог
    Бренды
    Компания
    О компании
    Партнерам
    Реквизиты
    Контакты
    Информация
    Новости
    Статьи
    Карта сайта
    Помощь
    Доставка и оплата
    Как оформить заказ
    Способы оплаты
    База знаний
    Связаться с нами
    +7 (800) 100-61-98
    +7 (800) 100-61-98
    E-mail
    Tambov@td-asv.ru
    Адрес
    Тамбов, проезд Энергетиков, 30 (Пункт выдачи товара на терминале ТК «Возовоз»)
    Режим работы
    Пн - Пт: c 10:00 до 16:00
    Сб - Вс: выходной
    Tambov@td-asv.ru
    Тамбов, проезд Энергетиков, 30 (Пункт выдачи товара на терминале ТК «Возовоз»)
    © 2026 Торговый дом «АСВ»
    Политика конфиденциальности
    Публичная оферта
    Создание сайта WRP
    Каталог 0 Корзина 0 Избранное Кабинет Контакты